• 轴承型号查询
  • 普通搜索
  • 高级搜索
  • 联系我们
  • 关于我们
设为首页     加入收藏
轴承型号查询 > SKF > BTM110A/HCP4CDBA轴承

BTM110A/HCP4CDBA轴承

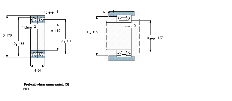
型号:BTM110A/HCP4CDBA
品牌:SKF
系列:双向, 精密,高精度轴承, BTM..A design, 30°, hybrid, preload A
内径:110 mm
外径:170 mm
厚度:54 mm
【发布日期:】
BTM110A/HCP4CDBA是SKF品牌下的双向, 精密,高精度轴承, BTM..A design, 30°, hybrid, preload A型号,我司有部分现货库存,BTM110A/HCP4CDBA轴承详细参数如下表所示,如有疑问,欢迎拨打0512-62658883进行咨询,并且我司能为客户提供样本图纸,BTM110A/HCP4CDBA轴承替代型号,价格等详细资料!
   公司还为您推荐型号:
    BTM70A/P4CDBB轴承 - BTM70B/HCP4CDBA轴承 - BTM70B/HCP4CDBB轴承 - BTM70B/P4CDBA轴承 - BTM70B/P4CDBB轴承 - BTM80A/HCP4CDBA轴承 - BTM80A/HCP4CDBB轴承 - BTM80A/P4CDBA轴承 - BTM80A/P4CDBB轴承 - BTM80B/HCP4CDBA轴承 - BTM80B/HCP4CDBB轴承 - BTM80B/P4CDBA轴承 - BTM80B/P4CDBB轴承 - BTM85A/HCP4CDBA轴承 - BTM110B/HCP4CDBB轴承 -

基本信息

                       
  双向, 精密,高精度轴承, BTM..A design, 30°, hybrid, preload A
                  公差, 2344(00) 设计 , BTM 设计
                  推荐配合, shafts, housings
                  轴和轴承座公差
  主要数据尺寸 基本负荷额定值 疲劳负荷限值 可达到的速度 体积 型号
      动态 静态   当润滑与
      油脂 滴油润滑
  d D H C C C0 Pu
  mm   kN kN r/min kg -
 11017054-631535,3630080003,90BTM 110 A/HCP4CDBA

相同内径110mm型号

  • 品牌
  • 型号
  • 内径
  • 外径
  • 厚度
  • 系列
  • FAG
  • B7222C轴承
  • 110
  • 200
  • 38
  • 角接触球轴承
  • FAG
  • B7022C轴承
  • 110
  • 170
  • 28
  • 角接触球轴承
  • FAG
  • 7222B轴承
  • 110
  • 200
  • 38
  • 角接触球轴承
  • NTN
  • 81122轴承
  • 110
  • 145
  • 25
  • 推力滚子轴承
  • SKF
  • 7322B轴承
  • 110
  • 240
  • 50
  • 角接触球轴承
  • INA
  • AS110145轴承
  • 110
  • 145
  • 1
  • 推力滚子轴承
  • SKF
  • 7222B轴承
  • 110
  • 200
  • 38
  • 角接触球轴承
  • NACHI
  • 29322E轴承
  • 110
  • 190
  • 48
  • 推力滚子轴承
  • NACHI
  • 29422E轴承
  • 110
  • 230
  • 73
  • 推力滚子轴承
  • KOYO
  • 7022CDB轴承
  • 110
  • 170
  • 56
  • 角接触球轴承

相同外径170mm型号

  • 品牌
  • 型号
  • 内径
  • 外径
  • 厚度
  • 系列
  • NSK
  • 22316HK+H2316X轴承
  • 70
  • 170
  • 58
  • 调心滚子轴承
  • KOYO
  • 6316-2Z轴承
  • 80
  • 170
  • 39
  • 深沟球轴承
  • NACHI
  • 6316-2Z轴承
  • 80
  • 170
  • 39
  • 深沟球轴承
  • KOYO
  • NU316轴承
  • 80
  • 170
  • 39
  • 圆柱滚子轴承
  • KOYO
  • NU316R轴承
  • 80
  • 170
  • 39
  • 圆柱滚子轴承
  • KOYO
  • NU2316轴承
  • 80
  • 170
  • 58
  • 圆柱滚子轴承
  • KOYO
  • NU2316R轴承
  • 80
  • 170
  • 58
  • 圆柱滚子轴承
  • KOYO
  • 22219RHK+H319轴承
  • 85
  • 170
  • 43
  • 调心滚子轴承
  • KOYO
  • NU3316轴承
  • 80
  • 170
  • 68.3
  • 圆柱滚子轴承
  • KOYO
  • 22316RHK+H2316轴承
  • 70
  • 170
  • 58
  • 调心滚子轴承

相同厚度54mm型号

  • 品牌
  • 型号
  • 内径
  • 外径
  • 厚度
  • 系列
  • INA
  • 89416轴承
  • 80
  • 170
  • 54
  • 推力圆柱滚子轴承
  • NACHI
  • NF418轴承
  • 90
  • 225
  • 54
  • 圆柱滚子轴承
  • NACHI
  • 5312NR轴承
  • 60
  • 130
  • 54
  • 角接触球轴承
  • KOYO
  • 7310B/DF轴承
  • 50
  • 110
  • 54
  • 角接触球轴承
  • INA
  • ZARN3570TN轴承
  • 35
  • 70
  • 54
  • 滚针组合轴承
  • INA
  • ZARN4075TN轴承
  • 40
  • 75
  • 54
  • 滚针组合轴承
  • INA
  • ZARF3590TN轴承
  • 35
  • 90
  • 54
  • 滚针组合轴承
  • INA
  • ZARF40100TN轴承
  • 40
  • 100
  • 54
  • 滚针组合轴承
  • KOYO
  • 3312A-RS轴承
  • 60
  • 130
  • 54
  • 角接触球轴承
  • FAG
  • NUP418M轴承
  • 90
  • 225
  • 54
  • 圆柱滚子轴承

推荐型号

GE60-FW-2RS轴承 6208/HR11QN轴承 07098/07204轴承 NJ2316R轴承 6208/HR11TN轴承 07098/07205轴承 NU414轴承 NJ2316轴承 3912轴承 NJ1014轴承 K89312-TV轴承 6208/HR22Q2轴承 07097/07196轴承 NJ2317R轴承 NJ214轴承 XV60轴承 

轴承型号查询 | 联系我们| 关于我们| 最新资讯| 高级搜索